Texas Instruments TAS6424M-Q1 Automotive Class-D Audio Amplifier

Texas Instruments TAS6424M-Q1 Automotive Class-D Audio Amplifier implements a 2.1MHz PWM switching frequency, enabling a cost-optimized solution in a tiny PCB size. The TAS6424M-Q1 features full operation down to 4.5V for start/stop events and exceptional sound quality with up to 40kHz audio bandwidth. The output switching frequency can be set either above the AM band or below to optimize efficiency. Setting the output frequency above the AM band eliminates AM-band interferences and reduces output filtering and cost. The amplifier features a built-in load diagnostic function for detecting and diagnosing misconnected outputs. This function also detects AC-coupled tweeters to help reduce test time during manufacturing. The device provides four channels at 27W into 4Ω at 10% THD+N and 45W into 2Ω at 10% THD+N from a 14.4V supply.

The TAS6424M-Q1 Class-D audio amplifier from Texas Instruments is ideal for automotive head units and external amplifier modules. The module is AEC-Q100 qualified for automotive applications. The TAS6421-Q1, TAS6422-Q1, TAS6424L-Q1, and TAS6424-Q1 offer pin-compatible options of one, two, and four channels.

Features

  • Advanced load diagnostics
    • DC diagnostics run without input clocks
    • AC diagnostic for tweeter detection with impedance and phase response
  • Easily meet CISPR25-L5 EMC specification
  • Audio inputs
    • 4 channel I2S or 4/8-channel TDM input
    • 44.1kHz, 48kHz, 96kHz input sample rates 
    • 16-bit to 32-bit I2S and TDM input formats 
  • Audio outputs
    • Four-channel Bridge-Tied Load (BTL)
    • Two-channel Parallel BTL (PBTL)
    • Up to 2.1MHz output switching frequency
    • 27W, 10% THD into 4Ω at 14.4V BTL
    • 45W, 10% THD into 2Ω at 14.4V BTL
    • 80W, 10% THD into 2Ω at 18V PBTL
  • Audio performance into 4Ω at 14.4V BTL
    • THD+N <0.02% at 1W
    • 42µVRMS output noise
    • –90dB crosstalk
  • AEC-Q100 qualified for automotive applications
    • Device temperature Grade 1 (–40°C to +125°C TA)
  • Load diagnostics
    • Output open and shorted load
    • Output-to-battery or ground shorts
    • Line output detection up to 6kΩ
    • Host-independent operation
  • Protection
    • Output current limiting
    • Output short protection
    • 40V load dump
    • Open ground and power-tolerant
    • DC offset
    • Overtemperature
    • Undervoltage and overvoltage
  • General operation
    • 4.5V to 18V supply voltage
    • I2C control with four address options
    • Clip detection and thermal warning

Applications

  • Automotive head units
  • Automotive external amplifiers

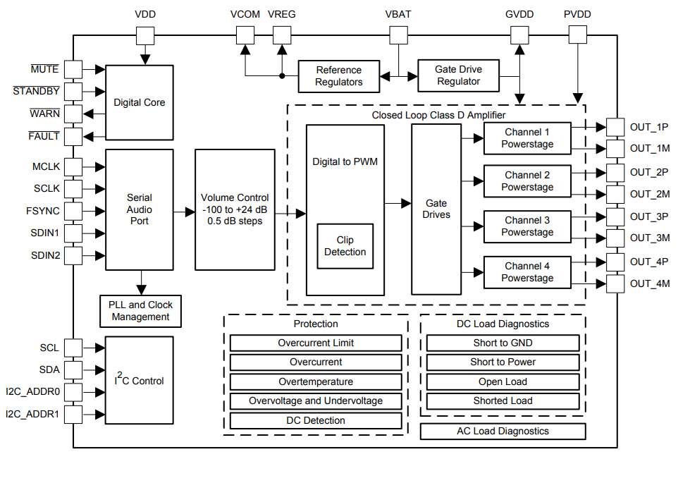
Block Diagram

Block Diagram - Texas Instruments TAS6424M-Q1 Automotive Class-D Audio Amplifier
Published: 2019-04-24 | Updated: 2025-03-06