Texas Instruments TAS5822M Class-D Audio Amplifiers

Texas Instruments TAS5822M Class-D Audio Amplifiers offer high efficiency and a digital input for driving loudspeakers in consumer, commercial, and industrial electronics. These devices provide a high-performance closed-loop architecture and wide-switching frequency range that reduces the solution size by decreasing passive components and minimizing the inductor size in most applications.

The TI TAS5822M Class-D Audio Amplifiers feature an integrated audio processor with an architecture up to 96kHz to support advanced process flow. The device supports high-efficiency 1SPW modulation with adjustable Class D loop bandwidth for good audio performance.

Features

  • Flexible audio I/O
    • Supports 32, 44.1, 48, 88.2, 96kHz sample rates
    • I2S, LJ, RJ, TDM
    • SDOUT for audio monitoring, sub-channel, or echo cancellation
    • PLL integrated, supports 3-wire digital audio interface (no MCLK required)
    • Supports stereo bridge-tied or mono parallel bridge-tied loads (BTL and PBTL)
  • Efficient class-D operation with > 90% power efficiency, 90mΩ RDSon
  • Supports multiple output configurations
    • 2 × 35W in 2.0 Mode (8Ω, 24V, THD+N=1%)
    • 2 × 22W in 2.0 Mode (6Ω, 18V, THD+N=1%)
  • Excellent audio performance
    • THD+N ≤ 0.06% at 1W, 1kHz, PVDD = 24V
    • SNR ≥ 110dB (A-weighted), ICN ≤ 40μVRMS
  • Enhanced audio processing
    • Sample rate converter
    • 96kHz processor sampling
    • DC blocking, 2 ×14 BQs, THD manager
    • DPEQ, Volume Control
    • Input Mixer, Output Crossbar
    • 4th order 2-Band DRC + AGL
    • Over temperature fold back
  • Flexible power supply configurations
    • 4.5V to 26.4V PVDD
    • 1.8V or 3.3V DVDD and I/O
  • Excellent Integrated self-protection
    • Over-current error (OCE)
    • Over-temperature warning (OTW)
    • Over-temperature error (OTE)
    • Under/over-voltage lock-out (UVLO/OVLO)
  • Easy system integration
    • I2C Software Control
    • Reduced solution size
      • Fewer passives are required compared with open-loop devices
      • Ultra-low EMI with current EMI technology
      • No large inductors are required for most applications

Applications

  • Soundbars, PC audio
  • Wireless BLUETOOTH® speakers
  • DTV, HDTV, UHD, and multi-purpose monitors

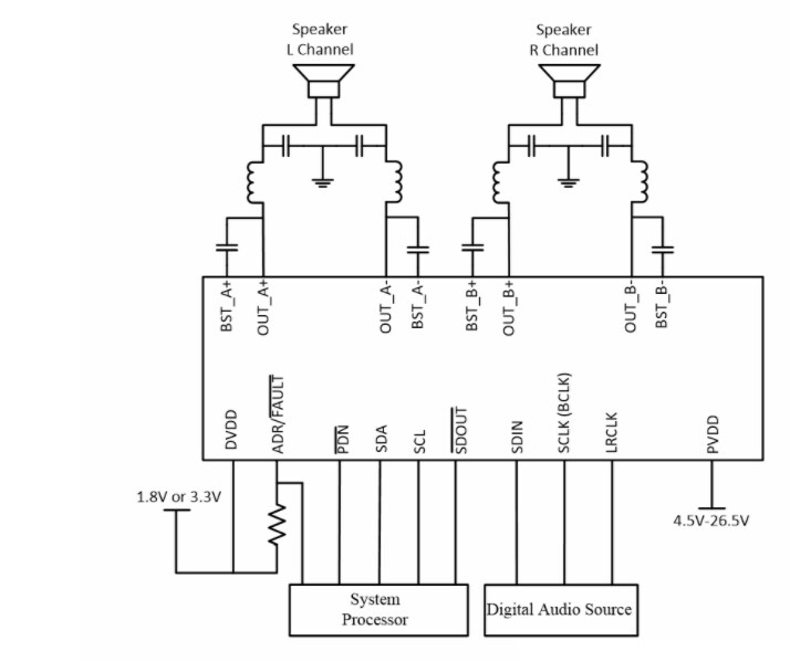
Switching Diagram

Texas Instruments TAS5822M Class-D Audio Amplifiers

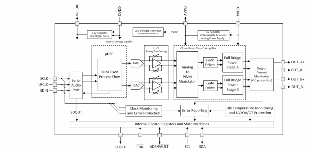
Block Diagram

Block Diagram - Texas Instruments TAS5822M Class-D Audio Amplifiers
Published: 2020-12-29 | Updated: 2024-10-30