Texas Instruments MSP430G2231-EP MSP430™ Value Line Microcontroller

Texas Instruments MSP430G2231-EP MSP430™ Value Line Microcontroller (MCU) is available in the extended (-40°C/+125°C) temperature range. TI MSP430G2231 has a 10-bit analog-to-digital converter and built-in communication capability using synchronous protocols (SPI or I2C). Typical applications include low-cost sensor systems that capture analog signals, convert them to digital values, and then process the data for display or for transmission to a host system.

Features

  • -40°C/125°C temperature range
  • Extended life cycle
  • Low Supply-Voltage Range: 1.8V to 3.6V voltage range
  • Ultra-low power
    • 220µA at 1MHz, 2.2V (active)
    • 0.5µA (standby)
    • 0.1µA (off mode, RAM retention)
  • Five power-saving modes
  • Less than 1µs wake up from standby mode
  • 16-Bit RISC architecture, 62.5-ns instruction cycle time

Applications

  • Sensor systems
  • Medical

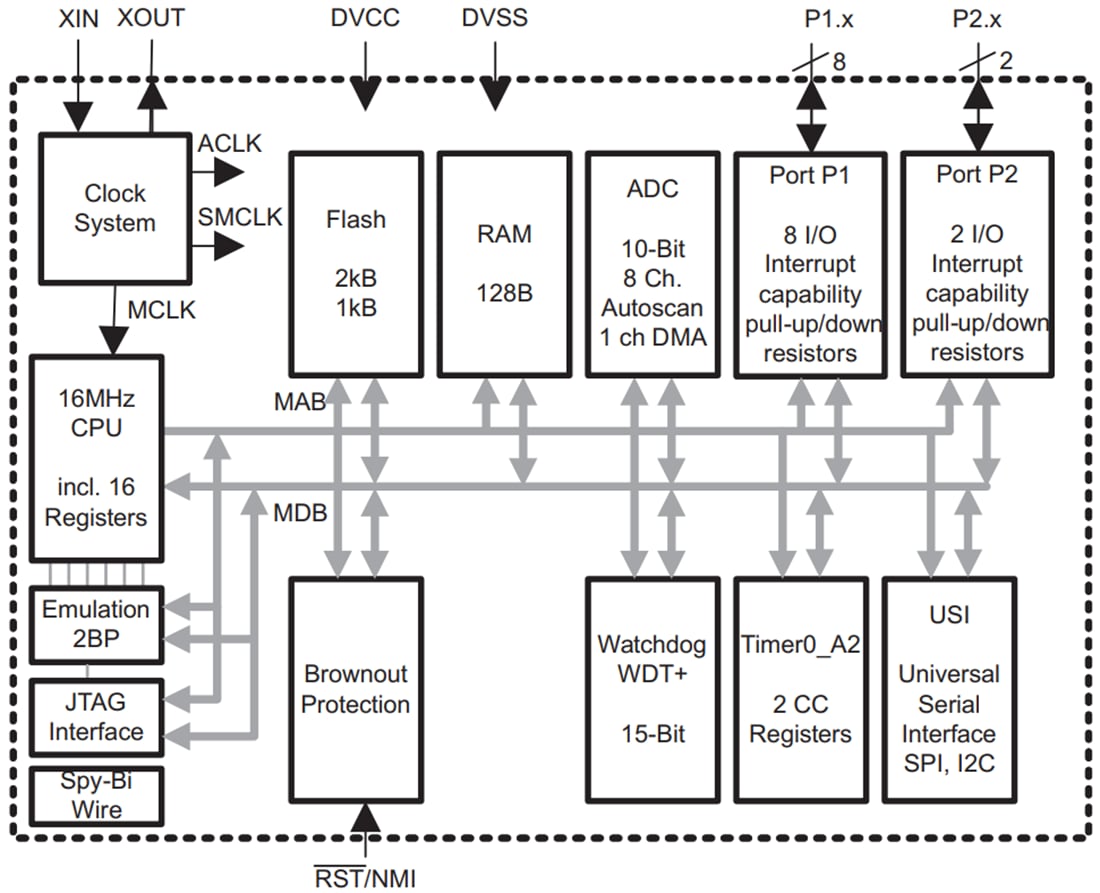
Functional Block Diagram

Block Diagram - Texas Instruments MSP430G2231-EP MSP430™ Value Line Microcontroller
Published: 2012-08-01 | Updated: 2025-04-16