Texas Instruments LP875701-Q1 DC/DC Buck Converters

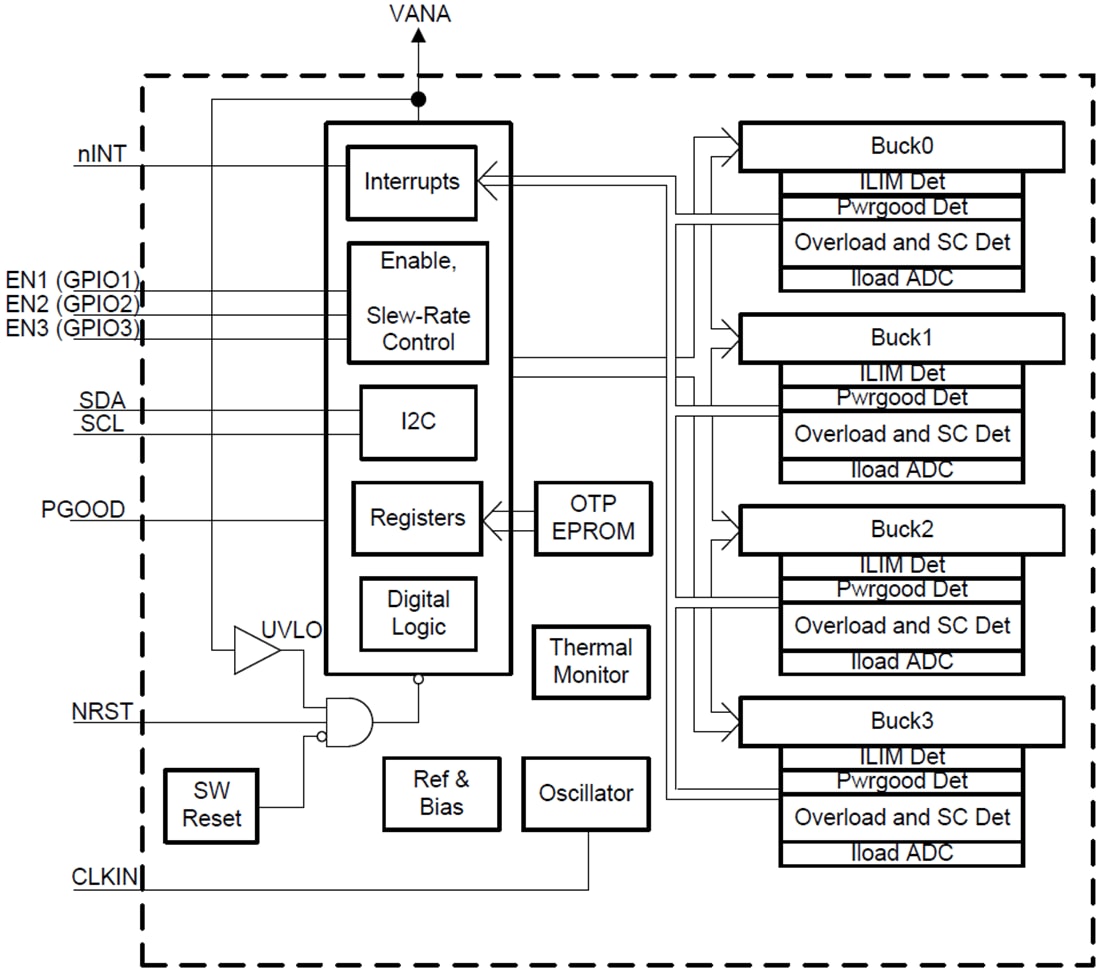
Texas Instruments LP875701-Q1 DC/DC Buck Converters are designed to meet the power management requirements of the most current processors and platforms in various automotive power applications. These devices contain four step-down DC/DC converter cores configured as a 4-phase output in forced-PWM mode. These devices are controlled by an I2C-compatible serial interface and by enable signals. The LP875701-Q1 supports remote differential-voltage sensing for multiphase outputs to compensate for IR drop between the regulator output and the point-of-load (POL), improving the output voltage's accuracy. The switching clock can be forced to PWM mode and synchronized to an external clock to minimize the disturbances.

Texas Instruments LP875701-Q1 converters support load-current measurement without the addition of external current-sense resistors. The LP875701-Q1 device also supports programmable start-up and shutdown delays and sequences synchronized to enable signals. The sequences can also include GPIO signals to control external regulators, load switches, and a processor reset. The device controls the output slew rate during start-up to minimize output-voltage overshoot and in-rush current.

Features

  • Qualified for automotive applications
  • AEC-Q100 qualified with the following results
    • Device Temperature Grade 1 (–40°C to +125°C ambient operating temperature)
    • Device HBM ESD Classification Level 2
    • Device CDM ESD Classification Level C4B
  • 2.8V to 5.5V input voltage 
  • 1.0V output voltage 
  • Four high-efficiency step-down DC/DC converter cores
    • Maximum output current of 10A (2.5A per phase)
  • 3MHz switching frequency 
  • Spread-spectrum mode and phase interleaving
  • Configurable General Purpose I/O (GPIOs)
  • I2C-compatible interface that supports Standard (100kHz), Fast (400kHz), Fast+ (1MHz), and High-Speed (3.4MHz) modes
  • Interrupt function with programmable masking
  • Programmable Power-Good (PGOOD) signal 
  • Output short-circuit and overload protection
  • Overtemperature warning and protection
  • Overvoltage Protection (OVP) and Undervoltage Lockout (UVLO)

Applications

  • Automotive infotainment
  • Clusters
  • Radar
  • Camera power

Functional Block Diagram

Block Diagram - Texas Instruments LP875701-Q1 DC/DC Buck Converters
Published: 2019-03-07 | Updated: 2025-03-06