Texas Instruments LMH12x9 12G SDI Cable Equalizers
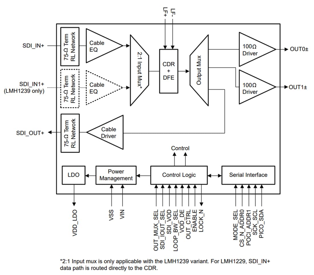
Texas Instruments LMH12x9 12G SDI Cable Equalizers are long-reach adaptive cable equalizers with an integrated reclocker, dual outputs, and 75Ω loop-through output. The device is designed to equalize data transmitted over 75Ω coaxial cable and operates across SMPTE data rates ranging from 125Mbps to 11.88Gbps. The adaptive equalizer at the SDI input enables automatic loss compensation for up to 100m Belden 1694A cable reach in 4K/8K video applications where 12G-SDI (11.88Gbps) is used. The integrated reclocker attenuates high-frequency jitter and fully regenerates the data using a clean, low-jitter clock. The loop filter of the reclocker is adjustable with an optional external capacitor to reduce the CDR loop bandwidth.For routing simplicity and debugging, the LMH12x9 features a 1:3 output mux consisting of two 100Ω fanouts with VOD and de-emphasis control and one 75Ω loop-through SDI output. The 75Ω loop-through output is provided to extend the signal reach or enable system-level diagnostics. The LMH12x9 features internal integrated return loss networks that meet stringent SMPTE specifications across all data rates. The LMH12x9 also has an internal eye-opening monitor and a programmable pin for CDR lock indication, input carrier detection, cable fault detection, or hardware interrupts to support system diagnostics and board bring-up.
When used in cable equalizer applications, the Texas Instruments LMH1229 is pin-compatible with the LMH1297 (12G UHD-SDI bidirectional I/O with integrated reclocker). The LMH1239 is offered with an additional integrated SDI input mux for system-level redundancy.
Features
- Adaptive cable equalizer with integrated reclocker
- Supports ST-2082-1(12G), ST-2081-1(6G), ST-424(3G), ST-292(HD), and ST-259(SD)
- Compatible with DVB-ASI and AES10 (MADI)
- Integrated referenceless reclocker locks to SMPTE rates of 11.88Gbps, 5.94Gbps, 2.97Gbps, and 1.485Gbps, or divide-by-1.001 sub-rates of 270Mbps
- Typical cable reach (Belden 1694A), PRBS-9 pattern
- 100m at 11.88Gbps (4Kp60 UHD)
- 150m at 5.94Gbps (UHD)
- 220m at 2.97Gbps (FHD)
- 300m at 1.485Gbps (HD)
- 600m at 270Mbps (SD)
- Typical cable reach (Belden 1694A), pathological pattern
- 90m at 11.88Gbps (4Kp60 UHD)
- 140m at 5.94Gbps (UHD)
- 220m at 2.97Gbps (FHD)
- 300m at 1.485Gbps (HD)
- 600m at 270Mbps (SD)
- On-chip 75Ω termination and return loss compensation network
- Input cable equalizer and reclocker features
- Improved cable reach with stress patterns
- Programmable CDR loop bandwidth settings
- 2:1 75Ω input mux (LMH1239 only)
- Output driver features
- 1:2 100Ω fanout output with de-emphasis
- Reclocked 75Ω loop-through output with cable fault detection (up to 600m)
- Built-in PRBS generator and checker
- Internal eye-opening monitor
- Single 2.5V supply
- 350mW (typical) low power
- 70mW power save mode
- Configurable by control pins, SPI, or SMBus interface
- 5mm × 5mm 32-pin WQFN package
- –40°C to +85°C operating temperature range
Applications
- SMPTE-compatible serial digital interface
- Broadcast video routers, switchers, distribution amplifiers, and monitors
- UHDTV/4K/8K/HDTV/SDTV video
- Digital video processing and editing
Additional Resources
Videos
Functional Block Diagram
