onsemi NCP705 500mA LDO Regulators

onsemi NCP705 500mA LDO Regulators are ideal for noise-sensitive RF applications such as power amplifiers in satellite radios, infotainment equipment, and precision instrumentation that require very clean power supplies. The NCP705 is a 500mA LDO that provides the engineer with a stable, accurate voltage with ultra-low noise and a high Power Supply Rejection Ratio (PSRR) suitable for RF applications. The device requires no additional noise bypass capacitor to achieve ultra-low noise performance. To optimize performance for battery-operated portable applications, the onsemi NCP705 employs dynamic IQ management for ultra-low quiescent current consumption at light-load conditions and excellent dynamic performance.

Features

  • 2.5V to 5.5V operating input voltage range
  • Available with a 0.8V to 3.5V fixed voltage option
  • Available with an adjustable voltage option of 0.8V to 5.5V VDROP
  • 0.8V reference voltage
  • Ultra-low 13A typical quiescent current
  • Ultra-low 12VRMS noise from 100Hz to 100kHz
  • Very low 230mV typical dropout at 500mA
  • ±2% accuracy over load/line/temperature
  • High 71dB PSRR at 1kHz
  • Internal soft-start to limit the turn-on inrush current
  • Thermal shutdown and current limit protections
  • Stable with a 1µF ceramic output capacitor
  • Active output discharge for fast turn-off
  • Pb-free devices

Applications

  • PDAs, mobile phones, GPS, and smartphones
  • Wireless handsets, wireless LAN, BLUETOOTH®, ZigBee®
  • Portable medical equipment
  • Other battery-powered applications

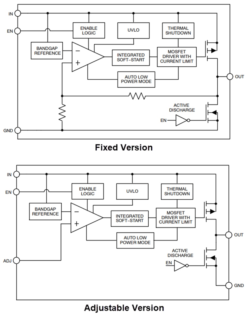
Simplified Schematic Block Diagram

Block Diagram - onsemi NCP705 500mA LDO Regulators
Published: 2025-04-21 | Updated: 2025-05-27