onsemi NCP110 Linear Voltage Regulators

onsemi NCP110 Linear Voltage Regulators are capable of supplying 200mA output current from a 1.1V input voltage. These voltage regulators provide a wide output range from 0.6V up to 4V with very low noise and high Power Supply Rejection Ratio (PSRR). The NCP110 regulators are designed to work with 1µF input and a 1µF output ceramic capacitor. These linear voltage regulators are suitable for battery-powered devices such as smartphones and tablets due to low quiescent current. Typical applications include battery-powered equipment, smartphone, digital cameras, smoke detectors, portable medical equipment, clock power supplies, and battery-powered wireless IoT modules.

Features

  • 1.1V to 5.5V operating input voltage range
  • 0.6V to 4V fixed voltage option
  • ±2% accuracy over load/temperature
  • Stable with a 1µF small case size ceramic capacitors
  • Available in:
    • WLCSP4 0.65mm x 0.65mm x 0.33mm case 567VS
    • XDFN4 1mm x 1mm x 0.4mm case 711AJ
  • Pb-free, halogen-free/BFR-free, and RoHS compliant

Specifications

  • Ultra-low quiescent current 20A (typical)
  • Standby current 0.1A (typical)
  • Very low dropout of 70mV for 1.05V @ 100mA
  • 95dB high PSRR @ 20mA, 1kHz frequency (typical)
  • Ultra-low noise 8.8µVRMS

Applications

  • Battery-powered equipment
  • Smartphone and tablets
  • Digital cameras
  • Smoke detectors
  • Portable medical equipment
  • RF, PLL, VCO, and clock power supplies
  • Battery-powered wireless IoT modules

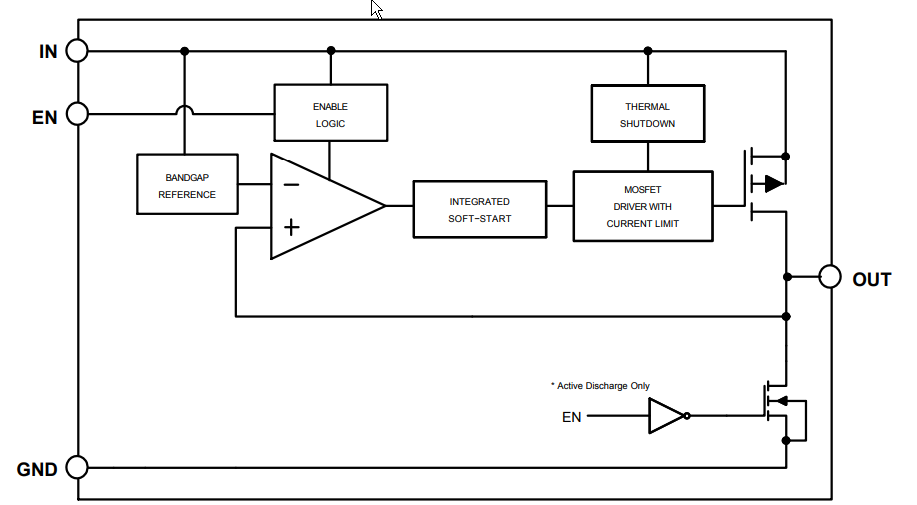
NCP110 Regulators Block Diagram

Block Diagram - onsemi NCP110 Linear Voltage Regulators

NCP110 Typical Application Diagram

Application Circuit Diagram - onsemi NCP110 Linear Voltage Regulators
Published: 2018-07-10 | Updated: 2022-10-31