Microchip Technology ENC624J600 ENC Ethernet Controller

Microchip Technology ENC624J600 ENC Ethernet Controller is a low-cost stand-alone 10/100 Base-T Ethernet interface controller with integrated MAC and PHY, hardware cryptographic security engines, and a factory preprogrammed unique MAC address. A 24Kbyte on-chip RAM buffer is available for TX and RX operations. The Microchip ENC624J600 is offered with an industry standard Serial Peripheral Interface (SPI) or a flexible parallel interface. This device is designed to serve as an Ethernet network interface for any microcontroller equipped with SPI or a standard parallel port. The Microchip ENC624J600 Controller enables designers to create secured network- and Internet-connected embedded applications with minimized board space, cost, and complexity.

Features

  • IEEE 802.3™ Compliant Fast Ethernet Controller
  • Integrated MAC and 10/100Base-T PHY
  • Hardware Security Acceleration Engines
  • Factory Preprogrammed Unique MAC Address
  • Supports one 10/100Base-T Port with Automatic Polarity Detection and Correction
  • Supports Auto-Negotiation
  • Support for Pause Control Frames, including Automatic Transmit and Receive Flow Control
  • Supports Half and Full-Duplex Operation
  • Programmable Automatic Retransmit on Collision

Security Engines

  • High-performance, modular exponentiation engine with up to 1024-bit operands
  • Supports RSA® and Diffie-Hellman key exchange algorithms
  • Fast MD5 hash computations
  • Fast SHA-1 hash computations

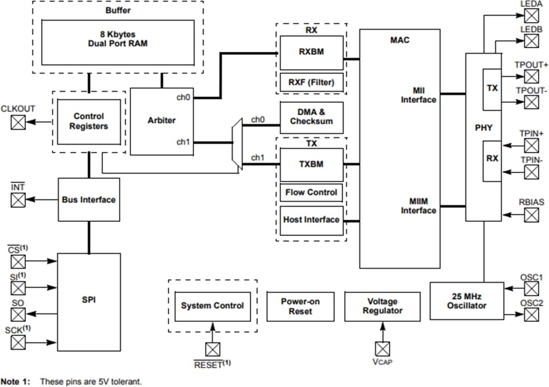
Block Diagram

Block Diagram - Microchip Technology ENC624J600 ENC Ethernet Controller
Published: 2009-08-19 | Updated: 2022-03-11