Microchip Technology dsPIC33CDVC256MP506 Integrated Motor Drivers

Microchip Technology dsPIC33CDVC256MP506 Integrated Motor Drivers combine a digital signal controller (DSC) with a full-bridge MOSFET gate driver designed for 3-phase BLDC motor control and a CAN transceiver for automotive communications. The 100MHz dsPIC® DSC with DSP, advanced motor control PWMs, 12-bit A/D converter, and integrated op amps and comparators are designed to run Field Oriented Control (FOC), providing the maximum energy efficiency and the lowest system cost. The full-bridge gate driver controls six external NMOS FETs and includes an integrated charge pump for low-voltage operation, programmable dead-time, and comprehensive protection circuits. The integrated motor driver can be powered by a single power supply up to 29V (operation) and 40V (transient) with the dsPIC DSC powered by an internal 3.3V LDO voltage regulator. Automotive applications include cooling fans, gas, oil and water pumps, compressors, valves, actuators, and turbochargers. Industrial and commercial applications include power tools and other battery-powered equipment.

Features

  • AEC-Q100 REV-H compliant
  • DSC operation
    • 3.0V to 3.6V, -40°C to +125°C, DC to 100MHz
    • 3.0V to 3.6V, -40°C to +150°C, DC to 70MHz
  • 6.5V to 29.0V, -40°C to +150°C MOSFET gate driver operation
  • CPU
    • Modified Harvard architecture
    • C compiler optimized instruction set
    • 16-bit wide data path/24-bit wide instructions
    • 16x16-bit integer multiply operations
    • Fast, 6-cycle 32/16 and 16/16 integer divide operations
    • 2x 40-bit accumulators with rounding and saturation options
    • Single-cycle multiply and accumulate
    • Single-cycle shifts for up to 40-bit data
    • Fractional or integer multiply
  • Motor Control PWM Module (MCPWM)
    • 4x PWM pairs with independent timing (8x outputs)
    • 2.0ns PWM resolution
    • Flexible trigger configurations for ADC conversions
    • Independent dead time for rising and falling edges
    • Programmable fault inputs
    • Features support for inverters, PFC, lighting, BLDC, PMSM, ACIM, and SRM
  • 32-bit optical/incremental encoder interface, Quadrature Encoder Interface (QEI) module
  • 12-bit resolution analog-to-digital converter module (ADC), 3.5Msps conversion rate, up to 15x channels, 1x S&H circuit
  • Analog features
    • 3x op amps with outputs internally connected to the ADC module
    • Fast analog comparator (15ns)
    • 12-bit PDM DAC with slope compensation and buffered output
  • Peripheral Trigger Generator (PTG), sequencer capable of generating complex trigger signal sequences
  • Up to 12x timers
    • Dedicated 16-bit timer module (timer 1)
    • 4x capture/compare/PWM/timer modules (SCCP) with 2x 16-bit or 1x 32-bit timers
    • PTG module with 2x configurable 16-bit timers/counters
    • QEI module configurable as a 32-bit timer/counter
  • Serial communication interfaces
    • 3x protocol UART modules with support for LIN 2.2
    • 3x SPI modules (up to 50Mbps) with 16-byte FIFO
    • 3x I2C host and client with address masking and IPMI support
    • 2x SENT module supporting automotive sensors
  • 4-channel DMA with user-selectable priority arbitration
  • Peripheral pin select (PPS) supporting function remapping
  • 32-bit programmable Cyclic Redundancy Check (CRC)
  • 64-pin VGQFN package

Applications

  • Automotive
    • Cooling fans
    • Gas
    • Oil and water pumps
    • Compressors
    • Valves
    • actuators
    • Turbochargers
  • Industrial and commercial
    • Power tools
    • Other battery-powered equipment

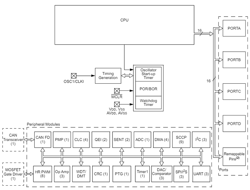
Internal Connections Block Diagram

Block Diagram - Microchip Technology dsPIC33CDVC256MP506 Integrated Motor Drivers

Block Diagram

Block Diagram - Microchip Technology dsPIC33CDVC256MP506 Integrated Motor Drivers
View Results ( 9 ) Page
Part Number Datasheet Program Memory Size Data RAM Size Package/Case
dsPIC33CDV128MP206-I/M9 dsPIC33CDV128MP206-I/M9 Datasheet 128 kB 16 kB VGQFN-64
dsPIC33CDV256MP206-I/M9 dsPIC33CDV256MP206-I/M9 Datasheet 256 kB 24 kB VGQFN-64
dsPIC33CDVC128MP506-E/M9 dsPIC33CDVC128MP506-E/M9 Datasheet 128 kB 16 kB VQFN-64
dsPIC33CDVC128MP506-I/M9 dsPIC33CDVC128MP506-I/M9 Datasheet 128 kB 16 kB VQFN-64
dsPIC33CDV256MP206T-I/M9 dsPIC33CDV256MP206T-I/M9 Datasheet 256 kB 24 kB VGQFN-64
dsPIC33CDV128MP206-E/M9 dsPIC33CDV128MP206-E/M9 Datasheet 128 kB 16 kB VGQFN-64
dsPIC33CDV256MP206-E/M9 dsPIC33CDV256MP206-E/M9 Datasheet 256 kB 24 kB VGQFN-64
dsPIC33CDVC128MP506T-E/M9 dsPIC33CDVC128MP506T-E/M9 Datasheet 128 kB 16 kB VQFN-64
dsPIC33CDVC128MP506T-I/M9 dsPIC33CDVC128MP506T-I/M9 Datasheet 128 kB 16 kB VQFN-64
Published: 2024-05-06 | Updated: 2024-06-20