Infineon Technologies TLE8080EM Engine Management ICs for Small Engines

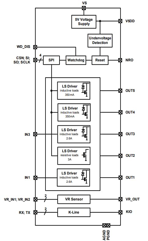
Infineon Technologies TLE8080EM Engine Management ICs for Small Engines are manufactured using Infineon's Smart Power Technology (SPT). The ICs are protected by embedded protection functions. A power supply is integrated along with a K-line, SPI, variable reluctance sensor interface, and power stages to drive different loads in an engine management system. The TLE8080EM provides a compact and cost-optimized solution for engine management systems. The ICs are very suitable for one-cylinder motorcycle engine management systems.

Features

  • Supply 5V (+/-2%), 250 mA
  • K-line transceiver (ISO 9141)
  • Serial Peripheral Interface (SPI)
  • 4 low side drivers for inductive loads with overtemperature and overcurrent protection and open load/short to GND in off diagnosis:
    • 2 low side switches with maximum operation of 2.6A
    • 2 low side switches with maximum operation of 350mA
  • 1 low side driver for resistive loads with maximum operation current of
    • 3A including overtemperature and overcurrent protection
  • Configurable variable reluctance sensor interface
  • Reset output and 5V undervoltage detection
  • Watchdog
  • Green Product (RoHS compliant)
  • AEC Qualified

Block Diagram

Block Diagram - Infineon Technologies TLE8080EM Engine Management ICs for Small Engines
Published: 2018-06-18 | Updated: 2022-08-08