Endress+Hauser Cerabar PMP43 Hygienic Pressure Transmitters

Endress+Hauser Cerabar PMP43 Hygienic Pressure Transmitters are designed for hygienic applications and combine a compact design with full performance. The proven technology of the Endress+Hauser Cerabar PMP43 is suitable for measuring and monitoring absolute and gauge pressure in liquids and gases. These hygienic pressure transmitters are part of the Compact Line and are flexible in scale and can be installed in tight spaces.

Features

  • 360° hygienic design and IP69 ingress protection class
    • Enables efficient cleaning
    • Avoids contamination
  • Outstanding ease of use due to easy setup and operation with guided wizards and an intuitive touch display
  • Improved process and product safety through configuration integrity - a checksum algorithm (CRC) ensures that safety-relevant parameters remain unchanged
  • Increased productivity
    • Traceable and documented on-demand verification without process interruption
    • Permanent monitoring of process anomalies or blocked impulse lines with Heartbeat Technology
  • Documented compliance through certified hygienic design and proven material conformity and traceability

Applications

  • Pressure monitoring of process pipes
  • Hydrostatic level measurement in process tanks/pressurized tanks
  • Pressure monitoring in narrow skids and modules

Specifications

  • Reliable, repeatable, and stable pressure measurement and hydrostatic level measurement
  • Up to 100bar (1500psi) pressure measuring range
  • Up to +200°C process temperature
  • Up to ±0.075% accuracy

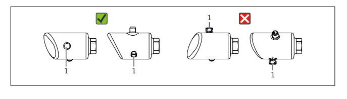
Proper Orientation

Infographic - Endress+Hauser Cerabar PMP43 Hygienic Pressure Transmitters

Product Design

Mechanical Drawing - Endress+Hauser Cerabar PMP43 Hygienic Pressure Transmitters
Published: 2025-01-28 | Updated: 2025-02-12