Analog Devices / Maxim Integrated MAX22216 Solenoid & Motor Drivers
Analog Devices / Maxim Integrated MAX22216 Solenoid and Motor Drivers integrate four programmable 36V half-bridges and are capable of up to 3.2AFS per half-bridge. Additional features include advanced diagnostic functions, including open-load detection, inductance measurement, detection of plunger movements, and a digital current sense monitor. The advanced diagnostic functions improve system reliability and enable predictive maintenance. The MAX22216 quad smart serial-controlled solenoid and motor drivers feature advanced control methods, including voltage/current drive regulation, two-level sequencer for power saving, dithering function, ramp-up/down control, a DC-motor drive with current limiter, and an integrated current sense. The series support high-side/low-side single-ended drive operations, bridge-tied load (BTL) configurations, channel parallelization, voltage control, current control, and mixed schemes.Analog Devices / Maxim Integrated MAX22216 Solenoid and Motor Drivers feature voltage drive regulation (VDR) mode to control half-bridge voltage, and supply variations are internally compensated. Protections include overcurrent (OCP), overtemperature (OTP), and undervoltage lockout (UVM). The modules are available in a 5mm x 5mm TQFN32 package.
Features
- Low RON for high efficiency:
- High flexibility:
- Independent channel setting
- High-side/low-side/bridge-tied load
- Configuration/parallel mode supported
- Advanced control methods:
- Voltage/current drive regulation
- Two levels sequencer for power saving
- DC-motor drive with current limiter
- Dithering function
- Ramp up/down control
- Demagnetization voltage control
- Integrated current sense
- Diagnostic functions:
- Reaction and travel time measurement
- Detection of plunger movements
- Open-load detection
- Inductance measurement
- Digital current sense monitor
- Full set of protections:
- Overcurrent protection
- Thermal protections
- Undervoltage lockout
Applications
- Solenoid on-off valves and relays
- DC motors
- Proportional valves
- Bi-stable latching solenoid valves
- Switching driver with real-time current measurement
- Digital output interface
Specifications
- 4x serial-controlled 36V half-bridges
- 1.7A DC (TA = 25°C) and 3.2A full-scale current capability
- 4.5V to 36V supply voltage range
- 2.2V to 5.25V logic input supply voltage range
- -5µA to 5µA output leakage current
- -40°C to +125°C operating temperature range
Videos
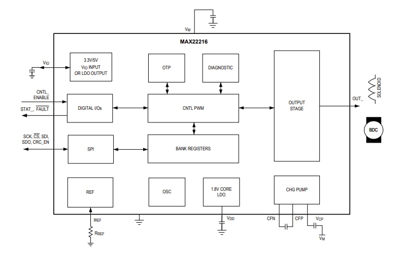
Block Diagram
Published: 2024-04-24
| Updated: 2025-08-24
