Analog Devices / Maxim Integrated ADPL12010 Switching Voltage Regulators

Analog Devices / Maxim Integrated ADPL12010 Switching Voltage Regulators are 20V, 8A/10A fully integrated buck converters with 20μA quiescent current and dual-phase capability. These devices are highly integrated synchronous buck converters with internal high-side and low-side switches. The ADPL12010 regulators can operate in dropout mode by running at a very high duty cycle, making them ideal for factory automation applications. These ADPL12010 ICs are available in a small, 3.5mm x 3.75mm, 17-pin flip-chip quad flat no-lead (FC2QFN) package. The ADPL12010 buck converters are compatible with the ADPL12005/ADPL12006 (5A to 6A) family of devices. These buck converters are ideal for factory automation, Point-of-Load, distributed DC power systems, communication infrastructure, and test and measurement.

Features

  • High-power DC/DC converter in a small solution size:
    • 3V to 20V operating VIN range
    • Synchronous DC-DC converter with integrated FETs
    • 8A/10A maximum output current
    • 400kHz and 1.5MHz fixed frequency options
    • Fixed soft-start time:
      • 2.5ms for 400kHz
      • 3.5ms for 1.5MHz
    • 36ns minimum on-time
    • Programmable output voltages:
      • 0.8V to 10V for 400kHz
      • 0.8V to 6V for 1.5MHz
  • Symmetric and balanced SUP and PGND pinout placement for better Electromagnetic Interference (EMI) performance
  • Thermally-enhanced 3.5mm x 3.75mm, 17-pin FC2QFN package
  • High efficiency at all load ranges:
    • 20μA quiescent current in skip mode
    • Up to 95.6% efficiency at 12VIN/3.3VOUT/400kHz
    • Up to 93.9% efficiency at 12VIN/3.3VOUT/1.5MHz
  • Dual-phase operation up to 20A load capability:
    • Frequency synchronization input/output
    • 180° out-of-phase between controller and target
    • Dynamic current sharing
  • Forced-PWM and skip-mode operation
  • Low dropout operation
  • Power good indicator
  • Overtemperature and short-circuit protection
  • -40°C to 150°C operating junction temperature range
  • Scalable power solution
  • Footprint compatible with ADPL12005/ADPL12006

Applications

  • Factory automation
  • Point-of-load
  • Distributed DC power systems
  • Communication infrastructure
  • Test and measurement

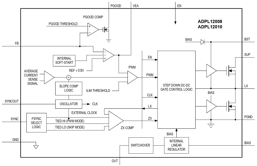
Block Diagram

Block Diagram - Analog Devices / Maxim Integrated ADPL12010 Switching Voltage Regulators

Pin Configuration

Analog Devices / Maxim Integrated ADPL12010 Switching Voltage Regulators
Published: 2025-09-15 | Updated: 2025-10-02